WWT121-09-106
最高支持1.2"靶面相机
申请报价
产品参数
产品图纸
相关应用
产品参数
data
基本参数
支持 CCD 尺寸 (Φmm)
19.2(1.2")
物方工作距 WD (mm)
106
像方 F/#
9.8
放大倍率 β (x)
0.9
焦距(mm)
84.92
数值孔径 NA
0.0456
物方分辨率 (um)
7.4
物方景深 DoF (mm)
1.0
像方 MTF30 (lp/mm)
66
相机接口
C
镜头总长 (mm)
130.2
是否同轴光
可调光栏
TV 畸变 (%)
0.57
视野范围
1.2" IMX530/540 (14.6X12.6)
16.2x14.0
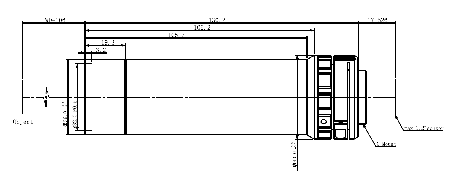
产品图纸
drawing

结构图

相关应用
application