DTCM16K-80H-AL
最高支持16K/59mm靶面相机
申请报价
产品参数
产品图纸
相关应用
产品参数
data
基本参数
支持CCD尺寸(Φmm)
59
物方视场FOV(Φmm)
80
放大倍率β(x)
0.738
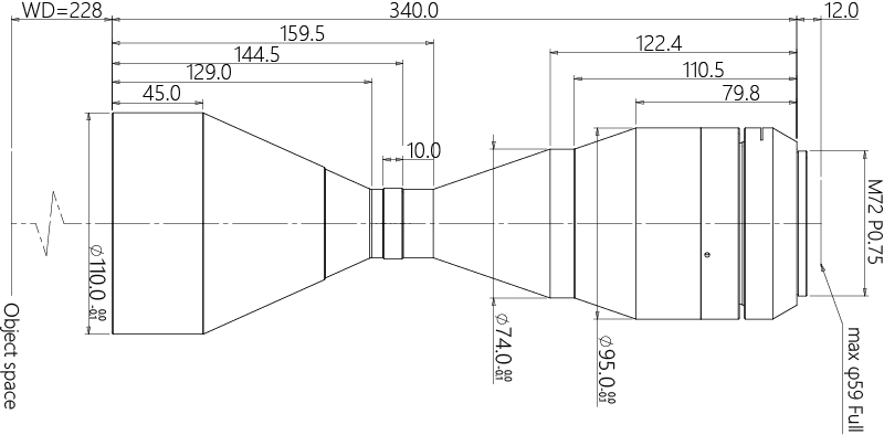
物方工作距WD(mm)
228±4
像方F/#
9.9
物方景深DOF(mm)
±1.6@F22
像方畸变(% max)
<0.1
物方远心度(° max)
<0.1
物像距I/O(mm)
580±4
镜头总长(mm)
340.0
镜头接口
M72
净重(KG)
3.4
像方MTF30(lp/mm)
>85
视野范围(mmxmm)
KAI-47051 (48.7x29.0)
66.0x39.3
Linescan-16K (57.4mm)
77.8
Linescan-8K (57.4mm)
77.8
产品图纸
drawing

结构图



相关应用
application